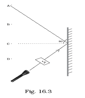
A small hole P is made in a piece of cardboard. The hole is illuminated by a torch as shown in Fig. 16.3. The pencil of light coming out of the hole falls on a mirror.


At which point should the eye be placed so that the hole can be seen?


A is the correct answer because according to laws of reflection the angle of incidence is equal to the angle of reflection and it is obeyed only when we place our eye at the point A as shown below: -

1