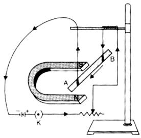
A small aluminium rod AB is suspended horizontally from a stand by the ends of two connecting wires as shown in the Figure given here. A horseshoe magnet is placed in such a way that north pole of the magnet is vertically below and its south pole vertically above the aluminium rod. The aluminium rod is connected in series with a battery, a key and a rheostat. How do you think the displacement of rod AB will be affected if:

(i) current in rod AB is increased?


(ii) a stronger horseshoe magnet is used?


(iii) length of the rod AB is increased?

When a current-carrying conductor is perpendicular to the magnetic field, the force acting on it is directly proportional to the following parameters:

(a) magnitude of current flowing in the conductor


(b) strength of magnetic field applied, and


(c) length of the conductor.



Here, greater is the force, greater will be the displacement of the aluminium rod.


(i) if the current in rod AB is increased, then more force will act on the rod and hence the displacement of rod will also be more.


(ii) if a stronger horseshoe magnet is used, then the strength of magnetic field will increase leading to greater magnetic force on the rod, which will provide greater displacement.


(iii) If the length of rod AB is increased, then more force will act on the rod and hence the displacement of rod will also be more.


13